管家婆【人事管理】基础设置
来源:管家婆软件 时间:2025/10/15 16:26:17
基础设置包含:工资项目、税率方案、分配设置等
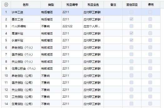
1、工资项目
•分为税前增减项、税后增减项等
•对应贷方科目允许用户按自身需求自定义
•固定工资项目直接提取至薪酬档案进行维护
•增加新账套预设工资项目
2、税率方案
•整合原【个税设置-税率】【个税设置-对应关系设置】,用户可维护税率方案和各期间税率方案的对应关系
•新版本仅支持【累计预扣法】
3、工资分配设置
•增加【按部门分配】
•优化交互体验:按职员分配时,可按部门批量填充对应科目
4、扣零设置
支持多种扣零方式
下一篇:管家婆【人事管理】全流程优化





返回首页
产品展示
联系我们